Friday February 2026

হটলাইন

সেবা এবং ধাপ

নং শিরোনাম সেবার ধাপ কার্যকলাপ
  
ভিজিএফ দেখুন
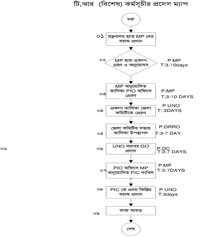
গ্রামীণ অবকাঠামো সংস্কার কর্মসূচি (নির্বাচনী এলাকা ভিত্তিক বরাদ্দ) দেখুন
গ্রামীন অবকাঠামো সংষ্কার (কাবিখা/কাবিটা) সাধারন দেখুন
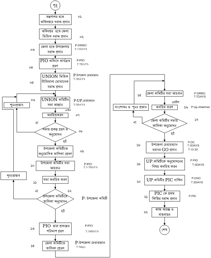
গ্রামীণ অবকাঠামো রক্ষনাবেক্ষণ কর্মসূচি (টিআর) দেখুন
মানবিক সহায়তা দেখুন
গ্রামীণ রাস্তায় ব্রিজ/কালভার্ট নির্মাণ কর্মসূচি দেখুন
অতি দরিদ্রদের জন্য কর্মসংস্থান কর্মসূচী দেখুন
দেখছেন ১ থেকে ৭ পর্যন্ত, মোট ৭ এন্ট্রি

এক্সেসিবিলিটি

স্ক্রিন রিডার ডাউনলোড করুন